方得网 原创
2025年商用车企业财报陆续披露,中国重汽营收突破千亿,福田汽车净利润同比增长超15倍……新能源业务成为企业盈利增长与转型突破的核心驱动力,彰显商用车行业高质量发展的鲜明趋势。
近日,一汽解放、中国重汽、福田汽车、潍柴动力、宇通客车等行业领军企业相继发布2025年度财报。数据显示,多数企业实现盈利增长,部分企业仍面临一定经营压力,而新能源业务在推动企业盈利提升、实现转型升级方面发挥了关键作用,成为行业发展的新引擎。
一汽解放:营收利润双增
一汽解放2025年营收利润稳健增长:总营收626.78亿元,同比增长6.99%;归母净利润7.25亿元,同比提升16.41%。扣非净利润0.16亿元,同比扭亏为盈(增长102.88%),反映主营业务盈利能力修复。
一汽解放2025年整车销售28万辆,同比增长11.5%;其中,中重卡销售25.5万辆,同比提升19.0%;新能源销售4.5万辆,同比增长184.3%;海外出口6万辆,同比增长5.2%,保持稳步提升。
中国重汽:营收1095亿 增15%
中国重汽(03808.HK)2025年财报展现出强劲的复苏势头与战略转型成效。2025年,中国重汽实现营业收入1095.41亿元,同比增长15.2%;实现归母净利润70.19亿元,同比增长19.8%,均创历史同期最高纪录,行业龙头地位进一步巩固。
据悉,中国重汽2025年重卡销量30.49万辆,市场占有率26.6%,不仅连续四年蝉联国内行业第一,更首次跃居全球重卡销量首位,开创了中国商用车行业高质量发展的新纪元。
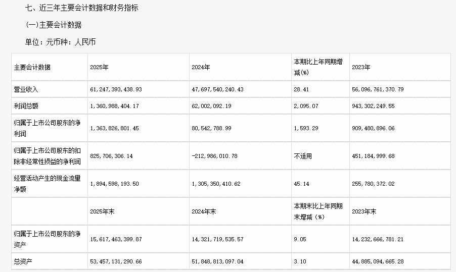
福田汽车:净利超13亿元 增1593%
福田汽车2025年实现营业收入612.47亿元,同比增长28.41%;归属于上市公司股东的净利润为13.64亿元,同比增长1593.29%。
据悉,福田汽车2025全年实现销量65万辆(含福田戴姆勒),同比增长5.9%,占有率15.13%。其中,中重型卡车2025年累计销售151330辆,同比增长57.1%,市场占有率11.9%,同比提升2.5个百分点;新能源实现销量10.1万辆,同比增长87.2%;海外市场实现销量16.5万辆,同比增长7.3%,市场占有率15.5%,继续保持中国商用车出口第一地位;营销模式创新和后市场业务成为新的利润增长点。
江淮汽车:营收劲增超10%
江汽集团2025年,全年实现营业收入464.76亿元,同比增长10.35%,展现出经营企稳与高质量发展的韧性。
据悉,2025年,江汽集团商用车业务规模稳健,全年销量同比增长9.33%,轻卡稳居行业第二;其中,新能源商用车销量同比增长70.76%,位居行业第四;江淮1卡全新力作坤鹏ET9的上市,进一步引领绿色智慧物流新时代;2025年累计销售超20万辆,中高端轻卡出口保持行业第一,皮卡出口位列行业第二;成功进入波兰等欧洲高端市场,其中,5个重点市场销量突破万台;越南合资江淮汽车实现出口位居中国品牌第一。
江铃汽车:营收391.7亿 同比微增
江铃汽车(000550.SZ)2025年实现营业收入约391.7亿元,同比增长2.07%。细分来看,2025年,江铃汽车整车收入约359.56亿元,同比增长1.89%,占总营收比重91.8%。
据悉,江铃汽车2025年累计销售约37.73万辆整车,包括约9.98万辆轻型客车、8.32万辆卡车、5.97万辆皮卡、13.46万辆SUV,总销量较2024年同期上升10.56%.
宇通客车:营收414.26亿 增11%
宇通客车(600066)2025全年累计实现客车销售49,518辆,同比增长5.54%;实现营业收入414.26亿元,同比增长11.31%;实现归属于上市公司股东的净利润55.54亿元,同比增长34.94%。
公司净利润同比增长,主要得益于公司对海外市场的持续开拓和深耕:随着中国客车产品国际竞争力持续提升,以及海外市场需求、尤其是海外新能源客车需求持续增长,公司不仅实现了出口销量增长,销售结构也持续向好。
比亚迪:营收8040亿 增3%
比亚迪2025全年营收8040亿元,同比增长3.46%;归母净利润326亿元。据悉,比亚迪2025年商用车销售收入117.8亿元,累计销量5.7万辆,同比大增161.83%。其中,客车累计销售4923辆。
安凯客车:营收超34亿 增25%
安凯客车2025全年累计实现客车销量8569辆,同比增长46.80%;实现营业收入34.28亿元,同比增长25.35%。归属于母公司净利润-5524.16万元。6米以上整车销量位居行业第7位。
潍柴动力:营收2318亿 增长8%
潍柴动力2025全年营业收入2318亿元,同比增长7.5%;归母净利润109亿元。
据悉,2025年,潍柴动力各传统核心板块运营稳健,业务协同效应持续释放,为整体业绩提供坚实支撑。具体来看,发动机累计销量74.3万台,其中直接出口7.5万台,同比增长8%;变速器、车桥销量分别达91.1万台、100万根,同比分别增长7%、25%,全产业链配套优势持续巩固。商用车板块表现突出,全年重卡整车销量15.3万辆,行业市占率稳居前列;新能源重卡销量2.5万辆,同比大幅增长262%;重卡出口5.9万辆,海外市场布局持续深化。
动力新科:营收57.4亿
动力新科公司(900920 以下简称:动力新科/公司)2025年努力开拓市场,深入推进产品技术研发、运营效率提升、降本增效等工作,发动机业务实现快速增长,全年发动机业务实现销售17.83万台,同比增加22.32%;
据悉,公司全资子公司上汽红岩因资不抵债,重庆市第五中级人民法院于2025年7月裁定受理了对上汽红岩的重整申请,并于2025年12月12日裁定批准了上汽红岩重整计划。自2025年12月起,上汽红岩财务报表不再纳入本公司的合并报表范围,公司重卡业务在2025年合并范围内实现整车销售899辆(上年同期为5,483辆),同比下降83.60%。受上述上汽红岩重整及公司合并范围调整等因素影响,2025年公司全年实现营业收入57.40亿元,同比下滑11.25%;因上汽红岩2025年12月起不再纳入公司合并范围事项而产生一次性股权处置收益35.32亿元,公司全年实现归属于母公司所有者的净利润为28.72亿元(上年同期为-19.99亿元),同比实现扭亏为盈。
2025年商用车企业财报,全面呈现了行业复苏进程中的分化格局,头部企业凭借产品优势与转型布局领跑市场,新能源与海外市场成为核心增长引擎。随着2026年行业转型持续深化,新能源、智能化、全球化布局将成为企业竞争的核心赛道。
宇通/中通/金龙/安凯预警:2026客车行业“生死劫”藏在哪?
净利最高涨241%!一季度报比拼 解放/重汽/福田/潍柴/宇通等 谁赢麻了?
破65万辆 利润增长20倍!福田汽车如何用ESG撬动高增长?
解放/重汽/潍柴/汉马科技预警:2026年重卡行业有何风险?
福田汽车4月销车破6万辆!重卡跃升32% 新能源劲增26% 